桂科电子详解贴片电阻规格、封...


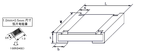
贴片电阻常见封装有9种,用两种尺寸代码来表示。一种尺寸代码是由4位数字表示的EIA(美国电子工业协会)代码,前两位与后两位分别表示电阻的长与宽,以英寸为单位。我们常说的0603封装就是指英制代码。另一种是米制代码,也由4位数字表示,其单位为毫米。下表列出贴片电阻封装英制和公制的关系及详细的尺寸:


0125.png


英制

(inch)

公制

(mm)

(L)

(mm)

(W)

(mm)

(t)

(mm)

a

(mm)

b

(mm)

0201

0603

0.60±0.05

0.30±0.05

0.23±0.05

0.10±0.05

0.15±0.05

0402

1005

1.00±0.10

0.50±0.10

0.30±0.10

0.20±0.10

0.25±0.10

0603

1608

1.60±0.15

0.80±0.15

0.40±0.10

0.30±0.20

0.30±0.20

0805

2012

2.00±0.20

1.25±0.15

0.50±0.10

0.40±0.20

0.40±0.20

1206

3216

3.20±0.20

1.60±0.15

0.55±0.10

0.50±0.20

0.50±0.20

1210

3225

3.20±0.20

2.50±0.20

0.55±0.10

0.50±0.20

0.50±0.20

1812

4832

4.50±0.20

3.20±0.20

0.55±0.10

0.50±0.20

0.50±0.20

2010

5025

5.00±0.20

2.50±0.20

0.55±0.10

0.60±0.20

0.60±0.20

2512

6432

6.40±0.20

3.20±0.20

0.55±0.10

0.60±0.20

0.60±0.20

贴片电容和贴片电阻都是一样可以用的,0805,1206等

 

贴片电阻电容功率与尺寸对应表

电阻封装尺寸与功率关系,通常来说:

0201    1/20W

0402    1/16W

0603    1/10W

0805    1/8W

1206    1/4W

电容电阻外形尺寸与封装的对应关系是:

0402=1.0x0.5

0603=1.6x0.8

0805=2.0x1.2

1206=3.2x1.6

1210=3.2x2.5

1812=4.5x3.2

2225=5.6x6.5

 

常规的贴片电阻的标准封装及额定功率如下表:

英制(mil)   公制(mm)    额定功率(W)@ 70°C

0201        0603         1/20

0402        1005         1/16

0603        1608         1/10

0805        2012         1/8

1206        3216         1/4

1210        3225         1/3

1812        4832         1/2

2010        5025         3/4

2512        6432         1

 

国内贴片电阻的命名方法:

1、5%精度的命名:RS-05K102JT

2、1%精度的命名:RS-05K1002FT

R -表示电阻

S -表示功率0402是1/16W、0603是1/10W、0805是1/8W、1206是1/4W、 1210是1/3W、1812是1/2W、2010是3/4W、2512是1W。

05 -表示尺寸(英寸):02表示0402、03表示0603、05表示0805、06表示1206、1210表示1210、1812表示1812、10表示1210、12表示2512。

K -表示温度系数为100PPM,

102-5%精度阻值表示法:前两位表示有效数字,第三位表示有多少个零,基本单位是Ω,102=1000Ω=1KΩ。

1002—1%精度阻值表示法:前三位表示有效数字,第四位表示有多少个零,基本单位是Ω,1002=10000Ω=10KΩ。

J -表示精度为5%、F-表示精度为1%。

T -表示编带包装

1:   0402(1/16W

2:   0603(1/10W)

3:   0805(1/8W)

4:   1206(1/4W)

5:   1210(1/3W)

6:   2010(1/2W)

7:   2512(1W)

335.png 

贴片电阻各参数说明

1、贴片电阻的阻值表示与贴片电容容值表示都是数字与“R”组合表示的。譬如:3ohm用3R0表示,10ohm用100表示,100ohm用101表示,也就是说“R”表示点“.”的意思,而101后面个位数的“1”表示的是带有1个0,例如102表示10000。

2、电阻上的数字和字母表示的就是阻值,R002就表示0.002ohm,180表示的就是18ohm.

3、怎样区分贴片的电阻与电容,由于电阻上面有白色的字体表示,所以除端角外背景颜色应该是黑色的,而电容上就没有字体表示,也不会有黑色的颜色,因为有黑色的话容易让人产生误会电容被氧化。读出四块数据,乘给出数据相加。


贴片电阻的命名

贴片电阻阻值误差精度有±1%、±2%、±5%、±10%精度,常规用的最多的是±1%和±5%,±5%精度的常规是用三位数来表示例 例512,前面两位是有效数字,第三位数2表示有多少个零,基本单位是Ω,这样就是5100欧,1000Ω=1KΩ,1000000Ω=1MΩ 为了区分±5%,±1%的电阻,于是±1%的电阻常规多数用4位数来表示,这样前三位是表示有效数字,第四位表示有多少个零4531也就是4530Ω,也就等于4.53KΩ